Официальное опубликование правовых актов
ОФИЦИАЛЬНОЕ ОПУБЛИКОВАНИЕ
Приказ Департамента имущественных отношений Ямало-Ненецкого автономного округа от 03.04.2026 № 119
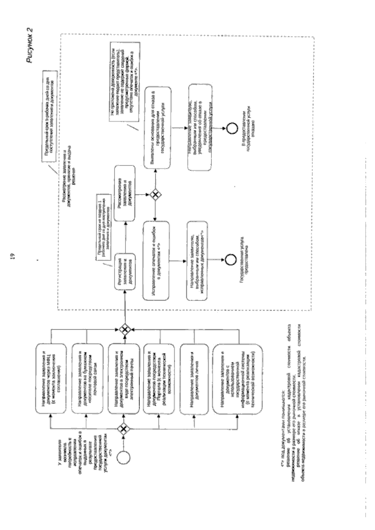
"Об утверждении Административного регламента Государственного бюджетного учреждения Ямало-Ненецкого автономного округа "Государственная кадастровая оценка" по предоставлению государственной услуги "Рассмотрение заявлений об установлении кадастровой стоимости объекта недвижимости в размере его рыночной стоимости"
(Зарегистрирован 07.04.2026 № 112)
Номер опубликования: 8901202604090004
Дата опубликования: 09.04.2026
Страница №20 из 21:
Увеличить