Официальное опубликование правовых актов
ОФИЦИАЛЬНОЕ ОПУБЛИКОВАНИЕ
Постановление Правительства Севастополя от 06.12.2019 № 630-ПП
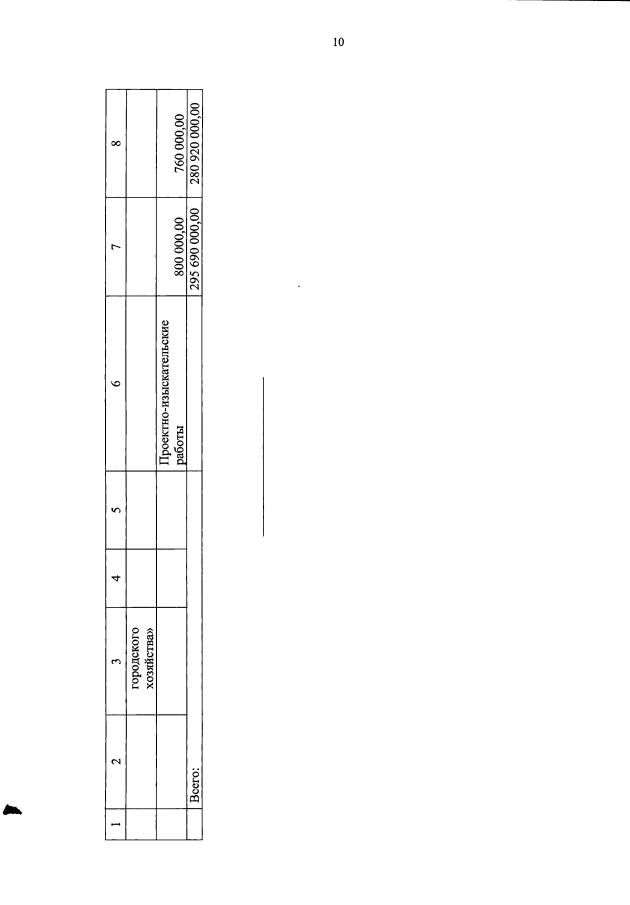
"О распределении средств субсидии из федерального бюджета бюджету города Севастополя на софинансирование мероприятий федеральной целевой программы "Социально-экономическое развитие Республики Крым и г. Севастополя до 2022 года" по главным распорядителям бюджетных средств в 2019 году"
Номер опубликования: 9200201912130008
Дата опубликования: 13.12.2019
Страница №26 из 55:
Увеличить