Официальное опубликование правовых актов
ОФИЦИАЛЬНОЕ ОПУБЛИКОВАНИЕ
Постановление Правительства Севастополя от 19.09.2025 № 435-ПП
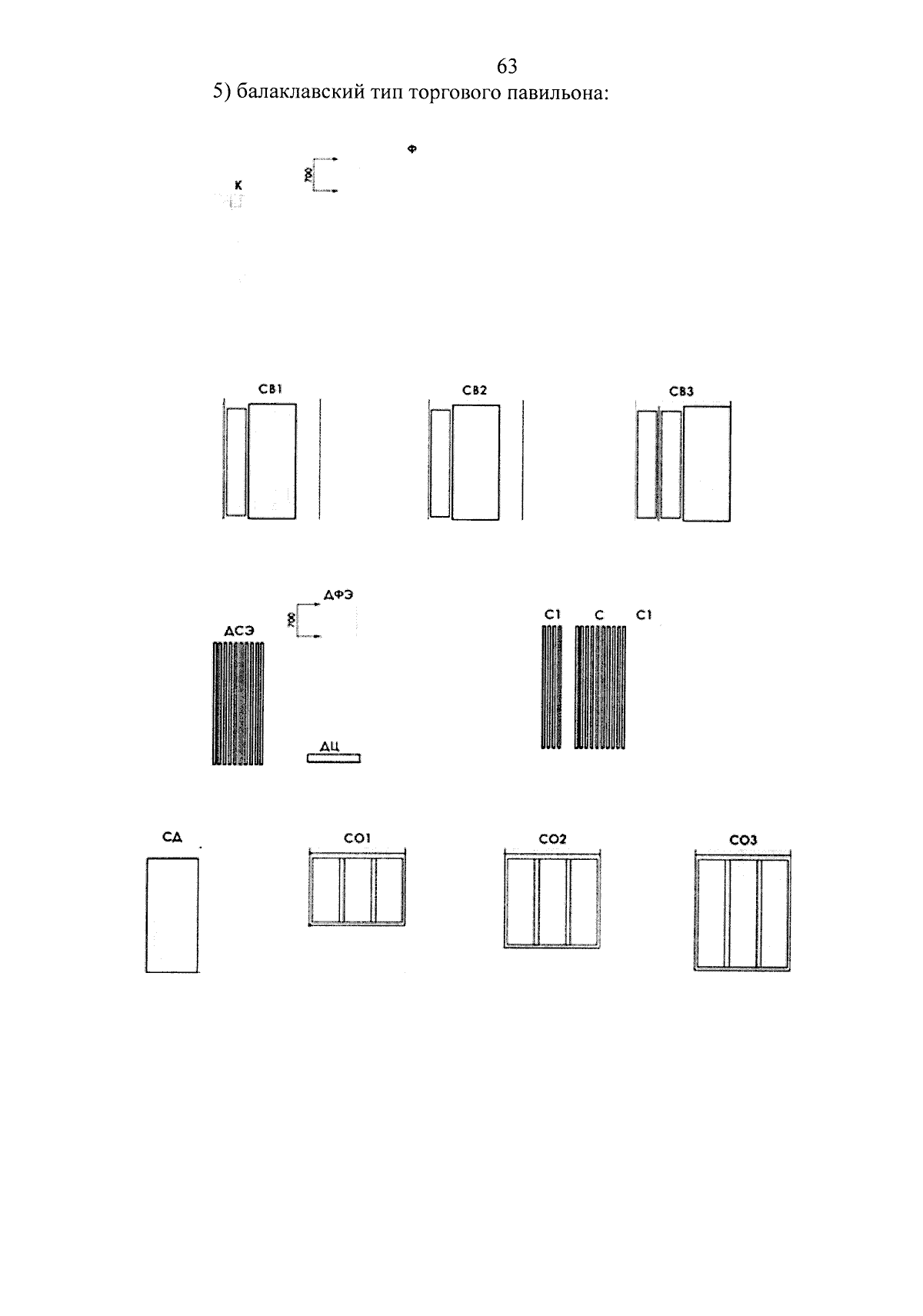
"О внесении изменений в постановление Правительства Севастополя от 09.12.2024 № 559-ПП "Об утверждении Типовых архитектурных решений внешнего вида нестационарных торговых объектов, допустимых к размещению на территории города Севастополя"
Номер опубликования: 9200202509270010
Дата опубликования: 27.09.2025
Страница №64 из 108: