Официальное опубликование правовых актов
ОФИЦИАЛЬНОЕ ОПУБЛИКОВАНИЕ
Приказ Управления по охране объектов культурного наследия Калужской области от 24.09.2025 № 181
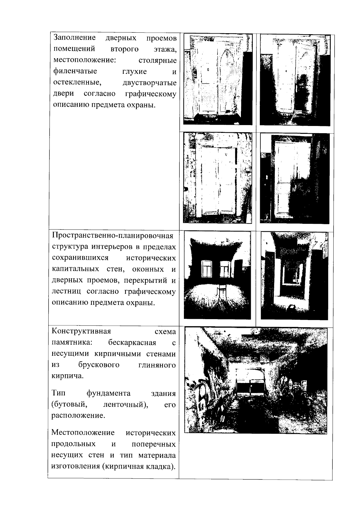
"О включении в единый государственный реестр объектов культурного наследия (памятников истории и культуры) народов Российской Федерации выявленного объекта культурного наследия "Жилой дом", XIX в., расположенного по адресу: Калужская область, г. Калуга, ул. Никитина, д. 4"
(Зарегистрирован 13.10.2025 № 15812)
Номер опубликования: 4001202510150011
Дата опубликования: 15.10.2025
Страница №8 из 17:
Увеличить