Официальное опубликование правовых актов
ОФИЦИАЛЬНОЕ ОПУБЛИКОВАНИЕ
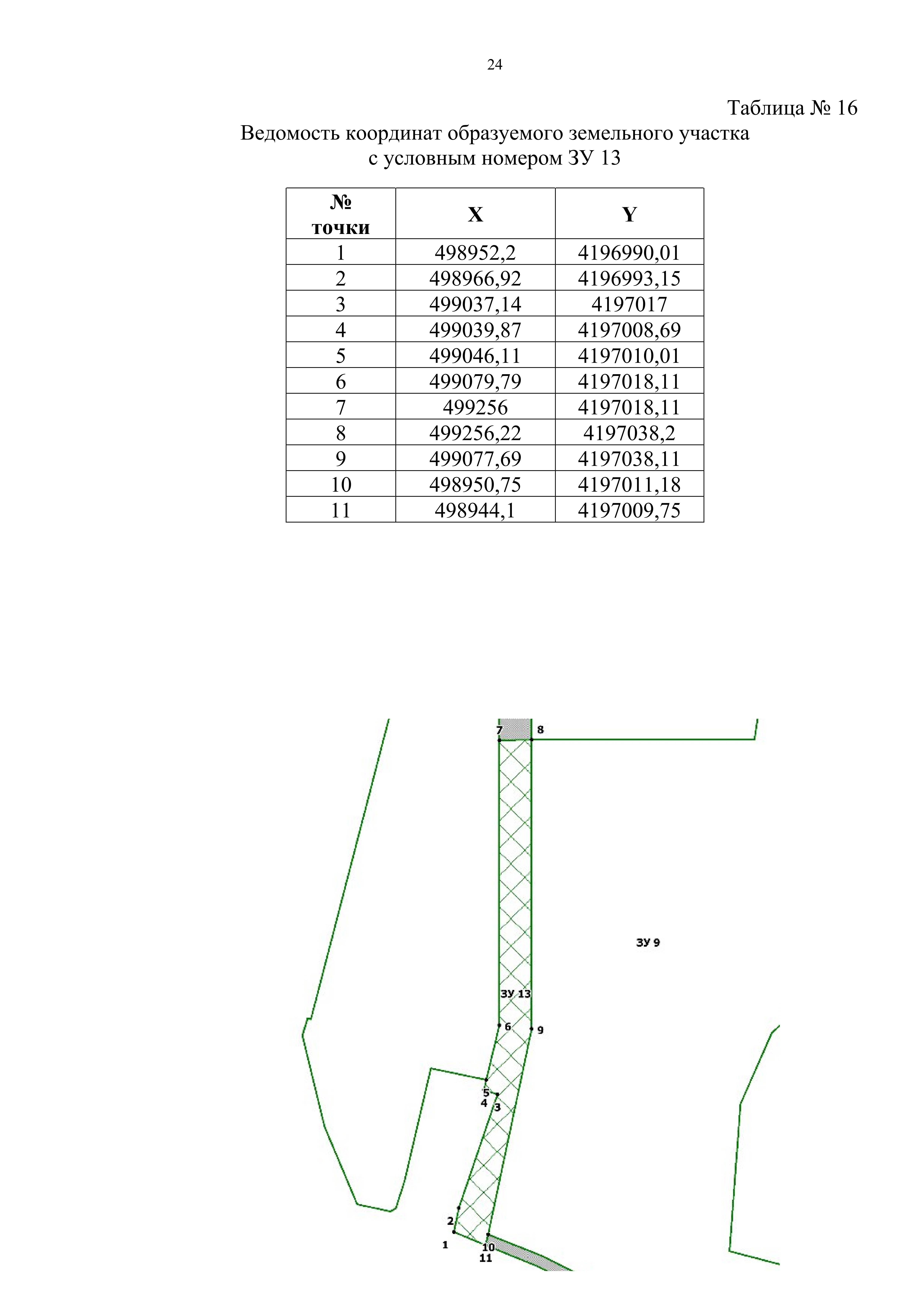
Приказ Министерства строительства Новосибирской области от 01.09.2025 № 118-НПА
"Об утверждении проекта межевания территории земельных участков с кадастровыми номерами 54:19:101101:1087, 54:19:101101:1088, 54:19:101101:1089, 54:19:101101:1090, 54:19:101101:1091 в границах Мочищенского сельсовета Новосибирского района Новосибирской области"
(Зарегистрирован 01.09.2025 № 118-НПА)
Номер опубликования: 5401202509010004
Дата опубликования: 01.09.2025
Страница №28 из 39: