Официальное опубликование правовых актов
ОФИЦИАЛЬНОЕ ОПУБЛИКОВАНИЕ
Распоряжение Комитета по государственному контролю, использованию и охране памятников истории и культуры от 18.08.2025 № 233-рп
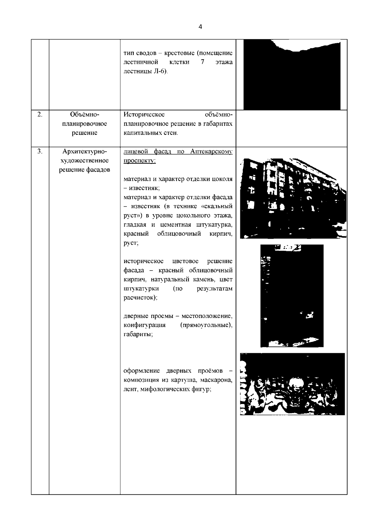
"Об утверждении предмета охраны объекта культурного наследия регионального значения "Дома Каменноостровского товарищества для устройства постоянных квартир"
(Зарегистрирован 19.08.2025 № 50816)
Номер опубликования: 7801202508260007
Дата опубликования: 26.08.2025
Страница №6 из 52:
Увеличить